Your browser is not supported. For the best experience, a newer version or another browser is recommended.

Measuring device for Qr, Sd and Sh

Part No 97205060
Weight (kg) 0.5
Log in for price
SEK
In stock
Product/price question

What would you like to know about Measuring device for Qr, Sd and Sh?

Send

Description

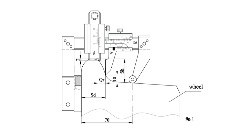
This is a precision instrument developed for measuring height, thickness, and flange wear on wheel flange profiles. The instrument is used for inspection and maintenance of wheels in accordance with applicable standards and ensures accurate and reliable measurement results.

The instrument is equipped with magnetic fastening, allowing it to be easily positioned and securely fixed to the wheel during measurement. Its robust construction, combined with clear scales, makes it suitable for both workshop and field use.

Technical specifications:

  • Flange height (Sh): 15–36 mm
  • Flange thickness (Sd): 22–36 mm
  • Flange wear (Qr): 6–10 mm
  • Reading accuracy: 0.1 mm

Conforms to:

EN 13715:200 / UIC 510-1, 510-2, 514-1 / DIN 862

More ...Close
SESwedish - SEK
Choose your settings
The product has been added to your shopping cart Show shopping cartCheckout